Понедельник, 15.12.2025, 16:33
[ Новые сообщения · Участники · Правила форума · Поиск · RSS ]
  • Страница 3 из 6
  • «
  • 1
  • 2
  • 3
  • 4
  • 5
  • 6
  • »
Модератор форума: zviadi  
RSV 1000 - нет зарядки
Belov1974Дата: Суббота, 17.05.2014, 10:13 | Сообщение # 31
Город: Москва
Мотоцикл: Aprilia Tuono APRC
Группа: Проверенные
Сообщений: 18
Сейчас: Offline
Спасибо за ответ. APRC отрубается только после того, как аккумулятор сел и мот заводишь от другого аккумулятора. Так все работает отлично.
Я и спрашиваю - может есть на форуме или знакомый электрик, чтобы созвониться и приехать. Либо привезу к себе (м.Шоссе Энтузиастов), в сервисах очереди. Конечно не бесплатно. Не дружу с тестером и даже если буду мерить, то что он покажет - мне не понятно. Сорри.
Если есть человек, понимающий в этой диагностике, отзовись. Буду премного благодарен.
 
zviadiДата: Суббота, 17.05.2014, 10:21 | Сообщение # 32
Город: Санкт-Петербург
Мотоцикл: Triumph Daytona 675
Группа: Администраторы
Сообщений: 6470
Сейчас: Offline
К оф. дилеру не хочешь отвезти?

Yamaha FZR400RR=>Honda VTR1000SP1=>Aprilia RSV1000R=>Aprilia Dorsoduro 1200 + KTM 990 Super Duke=>EBR 1190RX + Kawasaki Z1000=>Triumph Daytona 675 '06=>Triumph Daytona 675 '13
 
Belov1974Дата: Суббота, 17.05.2014, 10:36 | Сообщение # 33
Город: Москва
Мотоцикл: Aprilia Tuono APRC
Группа: Проверенные
Сообщений: 18
Сейчас: Offline
Если здесь не найду, придется сдаваться оф. дилеру. Просто думаю - может проблема в каком-нибудь проводе, вот и найти его!!! Все равно спасибо за ответ!
 
zviadiДата: Суббота, 17.05.2014, 10:39 | Сообщение # 34
Город: Санкт-Петербург
Мотоцикл: Triumph Daytona 675
Группа: Администраторы
Сообщений: 6470
Сейчас: Offline
Нет, проблема здесь не в проводе.
В лучшем случае, проблема в разъеме "генератор-РР", но навряд ли... Если даже предположить, что дело в каком-то другом проводе - без диагностики это никак не узнать. А диагностический прибор для твоего мотоцикла есть только у дилера.

Вези к официалам сразу и говори им, что нет зарядки. Пусть смотрят РР сразу же...


Yamaha FZR400RR=>Honda VTR1000SP1=>Aprilia RSV1000R=>Aprilia Dorsoduro 1200 + KTM 990 Super Duke=>EBR 1190RX + Kawasaki Z1000=>Triumph Daytona 675 '06=>Triumph Daytona 675 '13
 
Belov1974Дата: Понедельник, 26.05.2014, 23:00 | Сообщение # 35
Город: Москва
Мотоцикл: Aprilia Tuono APRC
Группа: Проверенные
Сообщений: 18
Сейчас: Offline
Понял. Разьем целый - проверял.

Добавлено (26.05.2014, 15:26)
---------------------------------------------
День добрый!решился сегодня провести проверку генератора.цифры такие.сопротивление между обмотками 1.9.между обмоткой и массой 1.9.показания одинаковые.напряжение между обмотками 30-28 V при 4000 об. Каков диагноз генератору???

Добавлено (26.05.2014, 23:00)
---------------------------------------------
И еще!решил снять крышку генератора.статор на треть в черной саже какой-то.понимаю что прогорела изоляция.излазил интернет на предмет перемотки статора.много отзывов о мастерской в Подольске.
Кто-нибудь делал там перемотку?
 
zviadiДата: Вторник, 27.05.2014, 09:07 | Сообщение # 36
Город: Санкт-Петербург
Мотоцикл: Triumph Daytona 675
Группа: Администраторы
Сообщений: 6470
Сейчас: Offline
Цитата Belov1974 ()
Каков диагноз генератору???


Хана твоему генератору.
Купи лучше новый, если время терпит. Перемотка - это такая вещь... Слишком много внешних факторов, влияющих на ее результат.

Причина сгорания какова? Окисленные разъемы, как в Милле и ротаксовских Туоно?
Блин, неужели и на этих мапедах с генераторами такие же траблы... Ты никакого доп. оборудования не устанавливал?


Yamaha FZR400RR=>Honda VTR1000SP1=>Aprilia RSV1000R=>Aprilia Dorsoduro 1200 + KTM 990 Super Duke=>EBR 1190RX + Kawasaki Z1000=>Triumph Daytona 675 '06=>Triumph Daytona 675 '13
 
Belov1974Дата: Вторник, 27.05.2014, 09:19 | Сообщение # 37
Город: Москва
Мотоцикл: Aprilia Tuono APRC
Группа: Проверенные
Сообщений: 18
Сейчас: Offline
Ничего не подключал дополнительного. На штатовском форуме эта проблема у многих сейчас всплывает. К пробегу 15000 км горят, сволочи. Поэтому ожидание нового от 4 до 12 недель. Но езжу на треке, поэтому на заезды хватает и даже с таким статором байк прет. Завести могу раз 6-7, потом акк не хватает. Разбирал пластик (РР находится в фаре) - контакты все целые.
Вот такая хрень.
 
zviadiДата: Вторник, 27.05.2014, 09:22 | Сообщение # 38
Город: Санкт-Петербург
Мотоцикл: Triumph Daytona 675
Группа: Администраторы
Сообщений: 6470
Сейчас: Offline
Цитата Belov1974 ()
РР находится в фаре


Отличное место для РР...
Ты ничего не путаешь? Может он сбоку возле бака? Вообще РР на этих мотиках весьма приличного размера, а фара у туоны мелкая...


Yamaha FZR400RR=>Honda VTR1000SP1=>Aprilia RSV1000R=>Aprilia Dorsoduro 1200 + KTM 990 Super Duke=>EBR 1190RX + Kawasaki Z1000=>Triumph Daytona 675 '06=>Triumph Daytona 675 '13
 
Belov1974Дата: Вторник, 27.05.2014, 09:36 | Сообщение # 39
Город: Москва
Мотоцикл: Aprilia Tuono APRC
Группа: Проверенные
Сообщений: 18
Сейчас: Offline
Неправильно написал... Между фарами в переднем пластике. Там спереди даже есть отверстие для его обдува. Попробую РР прозвонить, как здесь кто-то писал. Правда смотрел контакты - один на три контакта от генератора, а второй от РР - на четыре контакта (два красных и два зеленых). Красный это плюс, зеленый минус?
 
zviadiДата: Вторник, 27.05.2014, 09:39 | Сообщение # 40
Город: Санкт-Петербург
Мотоцикл: Triumph Daytona 675
Группа: Администраторы
Сообщений: 6470
Сейчас: Offline
На дорсе от РР на генератор идут три желтых провода, зеленый - земля, красно-белый - плюс.

Yamaha FZR400RR=>Honda VTR1000SP1=>Aprilia RSV1000R=>Aprilia Dorsoduro 1200 + KTM 990 Super Duke=>EBR 1190RX + Kawasaki Z1000=>Triumph Daytona 675 '06=>Triumph Daytona 675 '13
 
Belov1974Дата: Вторник, 27.05.2014, 13:33 | Сообщение # 41
Город: Москва
Мотоцикл: Aprilia Tuono APRC
Группа: Проверенные
Сообщений: 18
Сейчас: Offline
У меня два красно-белых, два зеленых и три желтых. А расположение РР конечно удивляет...
 
zviadiДата: Вторник, 27.05.2014, 13:38 | Сообщение # 42
Город: Санкт-Петербург
Мотоцикл: Triumph Daytona 675
Группа: Администраторы
Сообщений: 6470
Сейчас: Offline
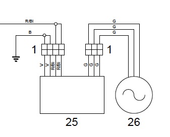
У меня тоже два, сорри... написал коряво.



V - зеленый
G - желтый
R/Bl - красно-белый
Прикрепления: 3227390.jpg (15.4 Kb)


Yamaha FZR400RR=>Honda VTR1000SP1=>Aprilia RSV1000R=>Aprilia Dorsoduro 1200 + KTM 990 Super Duke=>EBR 1190RX + Kawasaki Z1000=>Triumph Daytona 675 '06=>Triumph Daytona 675 '13
 
КирсанычДата: Среда, 28.05.2014, 15:23 | Сообщение # 43
Город: Питер
Мотоцикл: mille r
Группа: Проверенные
Сообщений: 7
Сейчас: Offline
А Должна ли Милле глохнуть при снятии клеммы с аккумы, если зарядка на холостых 12,7 и на оборотах постепенно поднимается до 13,5?
 
zviadiДата: Среда, 28.05.2014, 15:34 | Сообщение # 44
Город: Санкт-Петербург
Мотоцикл: Triumph Daytona 675
Группа: Администраторы
Сообщений: 6470
Сейчас: Offline
Обсуждали уже:

http://www.aprilia-club.ru/forum/12-1055-1


Yamaha FZR400RR=>Honda VTR1000SP1=>Aprilia RSV1000R=>Aprilia Dorsoduro 1200 + KTM 990 Super Duke=>EBR 1190RX + Kawasaki Z1000=>Triumph Daytona 675 '06=>Triumph Daytona 675 '13
 
Belov1974Дата: Четверг, 29.05.2014, 06:45 | Сообщение # 45
Город: Москва
Мотоцикл: Aprilia Tuono APRC
Группа: Проверенные
Сообщений: 18
Сейчас: Offline
Мой статор, кому интересно:



Буду заказывать у официалов. Можно отправить в штаты на перемотку, но цена вопроса 225$ плюс пересылка.
И когда придет новый, то ради эксперимента старый перемотаю у наших умельцев и отпишусь, что получилось.
Прикрепления: 6746166.jpg (1.64 Mb)
 
  • Страница 3 из 6
  • «
  • 1
  • 2
  • 3
  • 4
  • 5
  • 6
  • »
Поиск:

Клуб любителей мотоциклов Aprilia © 2025